作为早期入局国内市场的德系车,一直凭借可靠性和耐用性著称,也深受国内消费者的喜爱。不过,买的车也不能太随意,根据最新投诉销量比数据来看,德系车依然保持着在制造工艺上的传统优势,但不同品牌、不同定位车型之间的质量表现已经拉开差距,这为消费者选择提供了更具体的参考依据。德系车也不能乱选!最新质量排名:奔驰GLC第8,宝马X5、途岳前20!

在德系车投诉销量比榜单的前十名中,多个车型展现出德系制造的水准。捷达VS8创下零投诉的纪录,成为德系车之首。捷达VA3和福建奔驰威霆分别以3.2和6.2的优异表现紧随其后,展现出在不同细分市场的可靠性。奥迪A5L以7.2的投诉比位列第四,印证了奥迪在轿车制造领域的技术实力。福建奔驰V级、捷达VA7等车型的投诉比均控制在12.0以内,宝马iX1、奔驰GLC等热门车型也成功跻身前十,共同构筑了德系品质的第一道防线。
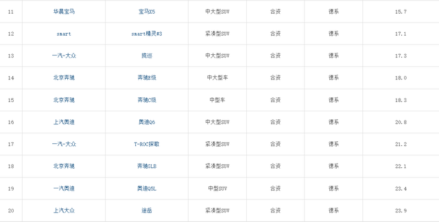
排名11至20位的车型组成了德系车市场的中坚力量。宝马X5、smart精灵#3等车型保持着15-17的投诉比,表现可圈可点。大众揽巡、奔驰E级和奔驰C级这三款不同定位的车型投诉比集中在18左右,显示出德系豪华品牌在质量控制上的一致性。奥迪Q6、大众探歌等SUV车型的投诉比控制在20-23之间,虽然不及头部车型亮眼,但整体表现仍在合理范围内。这个区间的车型大多是各自品牌的主力产品,其品质表现直接影响着品牌的市场口碑。
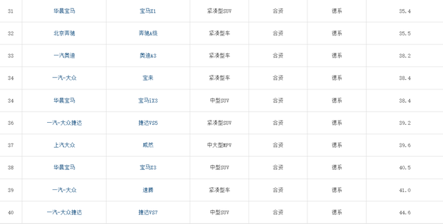
在榜单的后续区间,部分德系车型的投诉比出现了明显上升。宝马X1、奔驰A级等入门级产品的投诉比超过35,反映出德系品牌在入门市场的品质管控仍有提升空间。奥迪A3、大众宝来等经典车型的投诉比接近40,这些曾经的市场主力面临着新的挑战。特别值得注意的是,宝马X3、大众速腾等主力车型的投诉比突破40,这个现象值得德系品牌深入反思。在市场竞争日趋激烈的当下,如何平衡成本控制与品质保障,成为德系品牌需要认真面对的重要课题。
转载请注明来自德立,本文标题:《德系车有哪些汽车品牌(德系车也别乱选最新质量排名奔驰GLC第8)》
京公网安备11000000000001号
京ICP备11000001号
还没有评论,来说两句吧...