前几日,任天堂官方确认右侧Joy-Con额外增加一个新按键,但并未标注任何符号和用途。
有玩家猜测它可能代表Chat(语音聊天),可能支持快速唤醒AI,实现应用加载或内容搜索;或者Community(社群功能),支持最多 12 个 Nintendo Switch Online 用户同时在线,支持群聊和屏幕共享。
虽然任天堂官方暂未确认其实际用途,但有消息源对玩家们的猜测进行了补充:相应按键还可以作为配对按钮,允许 Switch 2 游戏机配对初代 Switch 游戏机,令初代设备作为类似 WiiU GamePad 的“带屏手柄”。
作为参考,此前的一份任天堂专利显示,Switch 2 可能会配备一种创新的磁吸式附件,用于实现双屏游戏玩法。
该专利文件指出,该装置能够相对主机旋转并固定手机或其他设备,并通过磁力实现设备的吸附与分离。这一设计不仅支持将手机作为第二屏幕使用,还可以根据需求选择单屏或双屏模式。
据悉,任天堂在过去的游戏机中已经多次探索双屏功能,因此 Switch 2 有望在此基础上更进一步。
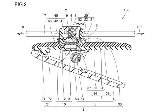
与此同时,任天堂旗下一项“集成语音聊天功能的系统”专利于2月20日通过专利局申请,显示任天堂 Switch 2 有望原生集成语音连麦功能。
参考相应专利图示结合任天堂 Switch 2 预热视频,该机有望配备语音连麦专属按钮,不过目前暂不知悉相应连麦功能是否需要 NSO 会员。
作为比较,任天堂初代 Switch 并没有自带语音聊天系统。玩家必须使用官方的任天堂 Switch Online 应用程序才能在《斯普拉遁》等兼容游戏中和其他好友连麦。
此外,相应专利申请中还介绍了“基于距离的语音聊天”功能,这将意味着玩家在凑近其他玩家时才能听清对话,离远后便听不到对话。包括目前《绝地求生:大逃杀》《VRChat》等多人游戏中均已拥有相应特性。
综上所述,“C 键”很可能与通讯或社交相关,并有望打破两代游戏机之间的隔阂。
实际应用到游戏方面,前几日任天堂官方宣布推出 Switch 虚拟游戏卡。
这个功能允许用户在家庭成员之间共享数字游戏14天,这使得数字游戏获得了与实体卡带相似的便利性,即可以在不同设备之间进行交换使用。
此前任天堂表示 Switch 2 将向下兼容旧游戏,但任天堂也可能计划针对同一款游戏,区分其在初代 Switch 和 Switch 2 上的不同版本。
有业内人士猜测,任天堂可能会效仿索尼和微软的模式:例如索尼的 PS4 游戏可以升级为“PS5 增强版”,而微软的智能交付系统则会根据用户使用的是 Xbox One 还是 Series X / S 来下载对应系统版本的游戏。
又或许任天堂会推出单独的“增强版”游戏,这些游戏在 Switch 2 上表现更佳,并且单独销售。
不过上述爆料均未得到任天堂官方确认,因此真实性还有待商榷,大家可以保持关注。

转载请注明来自德立,本文标题:《swch怎么设置双人手柄(任天堂Switch 2C键再曝支持配对初代机型)》
京公网安备11000000000001号
京ICP备11000001号
还没有评论,来说两句吧...